
近日 在线炒股配资选择配资
有网友发帖称
“大连科技学院全员停发工资
开学面临停摆”
消息引发关注
8月24日
大连科技学院发布情况说明
全文如下↓↓
近日,有关我校教职工薪酬发放情况等网络信息引发社会关注。学校高度重视,加快推进相关问题解决。现就有关情况说明如下:
关于网传学校工资停发问题,确因我校涉及一起多年前贷款担保纠纷,以致教职工7月份薪酬延期发放。网传大量债务信息实为举办方名下其他企业债务。经学校依法与司法机关及相关金融单位沟通协调,目前工资发放问题已全部解决,学校长期运行经费得到有效保障。学校秋季开学各项准备工作正在有序进行,将按照教学计划如期开学。
衷心感谢社会各界对学校的关注与支持。
此前报道
此前,在帖文评论区,记者注意到有一封落款为“大连科技学院工会委员会”的《致全体教职员工一封信》。信中提到,在未收到任何法律文书和通知的情况下,学校各类相关账户被大连市中级人民法院冻结,致使7月工资未能如期发放。学校工会将为全体教职员工发放临时困难补贴和慰问补贴。
网友发帖称大连科技学院全员停发工资。
评论区流传出该校内部信。
校方:属实,学校已经在解决了
8月23日,记者以家长身份致电大连科技学院求证此事,学校院办工作人员证实网传的《致全体教职员工一封信》内容属实,但表示“现在学校已经在解决这个问题了,政府不可能让学校停止运行,我们老师马上都上班了。”
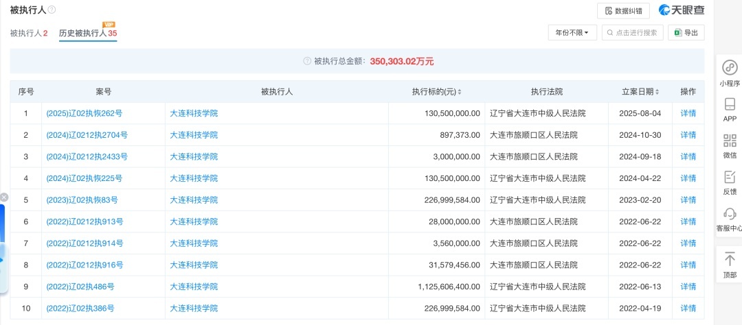
记者注意到,《致全体教职员工一封信》的落款时间为8月5日。根据天眼查信息显示,大连科技学院共有2条被执行人信息,被执行总金额超2.3亿元;共有35条历史被执行人信息,被执行总金额超35亿元。其中,8月4日新增1则恢复执行信息,执行标的超1.3亿元,执行法院为辽宁省大连市中级人民法院。
大连科技学院2条被执行人信息,总金额超2.3亿元。
大连科技学院历史被执行人信息共35条,总金额超35亿元。
公开资料显示,大连科技学院位于辽宁省大连市旅顺经济开发区,是一所理工类民办高校。学院于2002年7月建校,前身为大连交通大学信息工程学院,是大连铁道学院与大连阳光世纪教育产业投资有限公司(下称“大连阳光世纪教育”)共同举办的独立学院。2011年,学校改制为民办普通本科大连科技学院。
学校法定代表人被限高
“我收到的录取通知里要求10天内交齐学费。”一位该校新生告诉记者,自己8月初就已交齐所有学费。
大连科技学院的收费公告显示,该校本科专业学费为每年26000元-28000元,专科学费为每年18000元。8月17日,大连科技学院官方微信公众号发布2025年招生情况,已面向全国22个省份录取本科新生2900余人。学校目前在校生大约1.2万人。
一所高校,为什么能欠这么多钱?
记者梳理发现,大连科技学院背后的企业,即大连阳光世纪教育同样官司缠身,而学校常务副校长高小涵,是大连科技学院的法定代表人,同时也是大连阳光世纪教育法定代表人。目前,高小涵共有22条被限制高消费的记录,案件多集中在金融借款合同纠纷、债权转让纠纷、典当纠纷等。
一位大三在校生告诉记者,关于学校全员停薪的事,自己也是从网上看到,内部并未引起过多讨论,但是学校近期新装修了宿舍楼,并在招生季多次宣传寝室环境。
此前,该校还曾发布2025年招聘计划,招聘专任教师、专业带头人、辅导员等42人。
来源:大连科技学院、读特新闻、深圳新闻网
编辑:小关
校对:梁洁萍
诚邀您
为广东6G通信、算力网络、数据安全等
前沿技术赋能民生建言
助力广东从“网络大省”迈向“网络强省”

英赫优配提示:文章来自网络,不代表本站观点。